PPH Q661F-10S pneumatski dvostruki kuglasti ventil DN15-100 GB Standard

Izvrsna kvaliteta, ultra izdržljiva pneumatska kuglasta slavina, plastična visokotemperaturna kuglasta slavina pogodna za industriju
Model: Q661F-10S
Materijal: Plastika
Spajanje: Dvostruki spoj
Način rada: Ručni
Nazivni pritisak: 10 kg
Prolaz: Ravni
Struktura: kuglasti ventil s osovinom
Funkcija: premosni ventil
Temperatura: Visoka temperatura
Primjene: industrija, industrija vode
Zaštitni znak: KXPV
Specifikacije: DN15-DN100
Podrijetlo: Ningbo, Zhejiang

Vlačna klasa: 1.0Mpa(10bar)

Temperaturno vezan popis aplikacija

Materijal Srednja temperatura℃ Materijal Srednja temperatura℃
PVC-C -20 ℃ ~ 95 ℃ PVC-U -5℃~ 45℃
FRPP -20 ℃ ~ 120 ℃ PPH -20 ℃ ~ 110 ℃
PVDF 40 ℃ ~ 150 ℃

Strukturne značajke proizvoda

1. Ovi kuglasti ventili od inženjerske plastike izrađeni su ubrizgavanjem u jednom komadu pomoću termoplasta otpornih na koroziju kao što su FRPP, PVDF, PVC-C, PVC-U i PPH, nudeći jaku otpornost na koroziju.
2. PTFE sjedalo je podesivo za nepropusnost.
3. Dvoslojni O-prstenovi pružaju dvostruku zaštitu od curenja.
4. Izvanredan izgled, glatka površina, fina strojna obrada i dizajn punog protoka.
5. Aktuatorom se može daljinski upravljati preko računala ili kontrolnog centra, kontrolirajući protok i protok medija otvaranjem i zatvaranjem ventila. To pruža veću pogodnost i brzinu, smanjuje troškove rada i osigurava sigurnost radnika na licu mjesta.

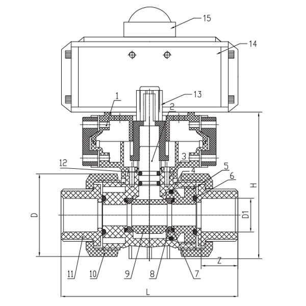
Tablica materijala dijela

br. Ime Materijal Kol.
1 Nosač električnog/pneumatskog aktuatora Materijal legure 1
2 stabljika PPH、PVC-C、PVC-U、PVDF、FRPP 1
3 Tijelo PPH、PVC-C、PVC-U、PVDF、FRPP 2
4 Brtveno sjedište O-prstena 1 FPM, EPDM 1
5 Seal sjedište PPH、PVC-C、PVC-U、PVDF、FRPP 1
9 Brtva sjedište O-prstena 2 FPM, EPDM 2
7 Brtva sjedište O-prstena 3 FPM, EPDM 2
8 Sten brtva (zapečaćena kugla) PTFE 2
9 Tijelo lopte PPH、PVC-C、PVC-U、PVDF、FRPP 1
10 Zadržavanje PPH、PVC-C、PVC-U、PVDF、FRPP 2
11 Unija PPH、PVC-C、PVC-U、PVDF、FRPP 2
12 stabljikaO-prsten FPM, EPDM 2
13 stabljikaKonektori Materijal legure 1
14 Pneumatski pokretač Aluminijska legura 1
15 Uređaj za povratni signal 1

Popis dimenzija

Specifikacija D d L H Z
15 50 20 110 87.8 20
20 58 25 126 97.5 24
25 70 32 140 106.6 27
32 85 40 160 123.5 30
40 98 50 170 138.5 32
50 127 63 190 163.5 37
65 144 75 230 191 44
80 158 90 280 222.5 51
100 192 110 340 261.5 61
Poruka povratne informacije
O nama
Kaixin Pipeline Technologies Co., Ltd.
Osnovano 1999. godine, Kaixin Pipeline Technologies Co., Ltd. je visokotehnološko poduzeće koje integrira istraživanje i razvoj, proizvodnju, prodaju i usluge. Tvrtka ima višestruke prestižne certifikate, uključujući Nacionalno visokotehnološko poduzeće, Specijalizirano i sofisticirano malo i srednje poduzeće “Mali div”, Nacionalni prvak pojedinačnog proizvoda (uzgoj), Malo poduzetništvo temeljeno na provincijskoj tehnologiji, Specijalizirano i sofisticirano malo poduzetništvo u Ningbou, prvak pojedinačnog proizvoda Ningbo (uzgoj), Centar za istraživanje i razvoj tehnologije polimernih cijevi i ventila Ningbo, Zelena tvornica na razini okruga, Ningbo Poduzeće s četiri zvjezdice za inovacije u upravljanju i sposobnost upravljanja podacima u poduzeću Razina zrelosti 2.
Specijalizirani smo za razvoj, proizvodnju i opskrbu nemetalnih proizvoda otpornih na koroziju za kemijsku primjenu, uključujući plastične ventile, cijevi, priključke za cijevi i pumpe otporne na koroziju. Naš portfelj proizvoda obuhvaća materijale kao što su PVC-C, PVC-U, PVDF, PPH i FRPP, sa širokim rasponom vrsta i specifikacija. Naime, naši leptirasti ventili mogu doseći promjer DN1000, dok se cijevi i spojni dijelovi protežu do DN800, rješavajući nedostatke tržišta i održavajući našu konkurentsku prednost u industriji.
Vođen načelom "tehnološki vođen, u korak s vremenom", Kaixin izdvaja gotovo 10 milijuna RMB godišnje za istraživanje i razvoj. Osiguravamo vrhunsku kvalitetu proizvoda kroz standardiziranu automatiziranu proizvodnju i strogu nabavu uvezenih sirovina. U skladu s našom međunarodnom razvojnom strategijom, kontinuirano pratimo globalne tržišne trendove i iskorištavamo digitalne kanale kako bismo kupcima diljem svijeta donijeli visokokvalitetne proizvode "Made in China".
Ningbo • Fenghua baza za istraživanje i razvoj i proizvodnju
S ukupnim ulaganjem od 200 milijuna RMB, Kaixin Ultra-Pure Pipe Technology (Ningbo) Co., Ltd. uspostavio je novi laboratorij za materijale u suradnji sa sveučilištima i istraživačkim institutima, izgradio modernu proizvodnu bazu i instalirao 8 potpuno automatiziranih proizvodnih linija za modificiranu plastiku i 8 za polimerne materijale. Postrojenje je posvećeno istraživanju i razvoju, proizvodnji i primjeni nove modificirane plastike i polimernih materijala. Kaixin je također predan privlačenju vrhunskih talenata u različitim disciplinama, kontinuirano potičući inovacije proizvoda i razvoj robne marke, s ciljem da postane globalno priznati lider u istraživanju i razvoju i proizvodnji polimernih ventila, cijevi i fitinga.
Certificate Of Honor
  • honor
  • honor
  • honor
  • honor
  • honor
  • honor
  • honor
  • honor
  • honor
Vijesti